168飞艇开奖官网开奖记录查询结果

天信仪表电话0517-86908060
全部类别
耐磨热电偶
发布时间:2021-10-22 13:49来源:字体:
一、耐磨热电偶产品概述
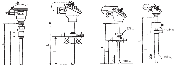
耐磨热电偶是由耐磨保护管、感温元件、固定安装装置和接线盒等部件组成.可用于申电站煤粉,石油裂解,建筑沥青混合物等流动介质的温度测量。切断式耐磨热电偶、可在保护管使用磨损,出现泄露时,及时关闭产品上附带的切斯阀,防止泄漏继续发生。对于防漏要求特别临的部位温度测量,可采用卡套式防内漏磨热电偶,通过密封性能良好的固定卡套螺接头,可以有效防止被测介质世漏。
二、耐磨热电偶产品选型

三、耐磨热电偶外形尺寸
返回
标签:耐磨热电偶,热电偶
168飞艇开奖官网开奖记录查询结果